A. Scope
This specification applies to Piezo buzzers,067037F-03031W70
B. Specifications

C. Exterior drawing

D. Test method
Standard measuring condition
Temperature: 25±2℃ Humidity: 45-65%
Acoustic characteristics:
Oscillation frequency, current consumption and sound pressure are measured by the instrument shown below

In the measurement test, the buzzer is placed as follows:
E. Typical frequency response curve
F. It is recommended that the drive circuit base current Ib should be high enough to saturate the collector current of the transistor under a CB load.
G. Welding conditions
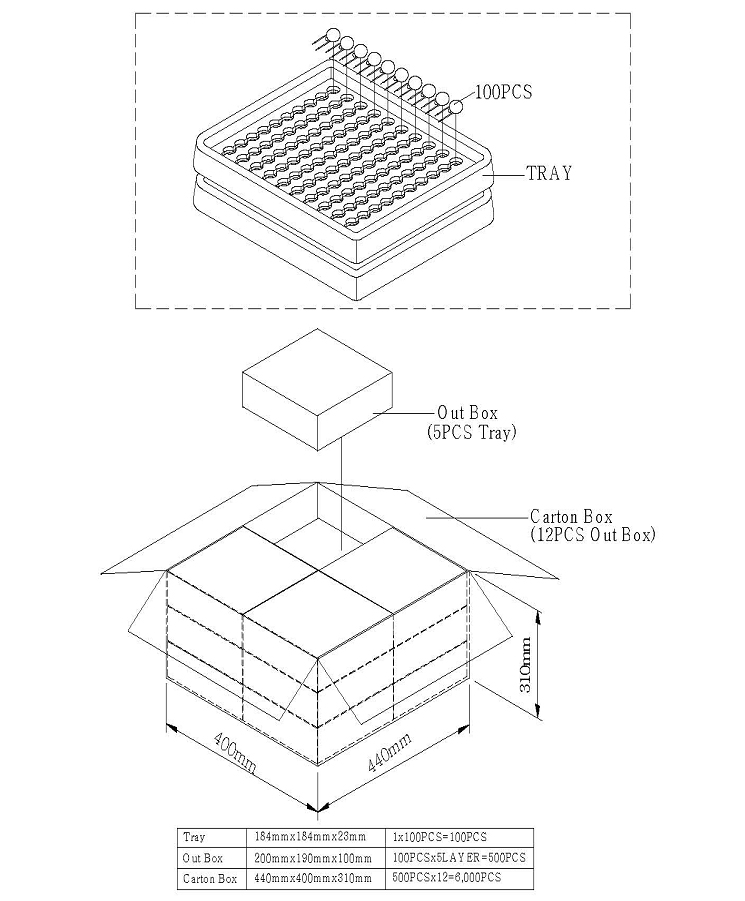
H. Packaging standards
