A. Scope
This specification applies to Piezo buzzers,085040H-03626J
B. Specifications

C. Exterior drawing

Tol: ±0.5 Unit: mm
D. Test method
Standard measuring condition
Temperature: 25±2℃ Humidity: 45-65%
Acoustic characteristics:
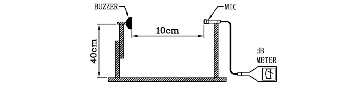
Oscillation frequency, current consumption and sound pressure are measured by the instrument shown below
In the measurement test, the buzzer is placed as follows:

E. Voltage/current/sound pressure characteristics

F.It is recommended that the drive circuit base current Ib should be high enough to saturate the collector current of the transistor under a CB load.

G. Welding conditions
H. Packing standard: